Home  |  High-End Audio Reviews  Audiophile Shows  Partner Mags  Hi-Fi / Music News

High-End High-Performance Audiophile Review Magazine & Hi-Fi Audio Equipment Reviews
Audiophile Equipment Review Magazine High-End Audio

  High-Performance Audio Reviews
  Music News, Show Reports, And More!

  30 Years Of Service To Music Lovers

Spring 2010

Sound Practices Magazine Online!  
Sound Practices Magazine Online!

A One-Tube Regulator
Article By Mike Vans Evers

From Sound Practices Issue 3, Early 1993

  Tube regulators were invented in the 1930s to replace the bulky battery power supplies used with scientific instruments. There were many types, some simple, some complex. The regulator presented in this article is of the simple variety: one tube. The benefits of a single tube regulator are simplicity, compactness, low cost, and minimal heater supply requirements. The disadvantages are limited output current (about 35 mA for the unit described here) and only moderately low output impedance compared to more complex types.

"Why tube regulators?" you're asking yourself. Well, there are good reasons for and against. Some people like the sound of unregulated supplies because "raw" supplies sound more warm and tubey. Others like the sound of regulated supplies because they feel that regulation gives the sound more impact and focus. Some prefer the sound of tube regulators because they find that tube based regulators sound more natural than the solid state variety. All elements in a design affect the sound of that design. The power supply is a major element in any design. The decision to regulate or not to regulate will ultimately be decided on the basis of the resulting sonic qualities -- hopefully.

 

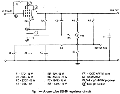
The tube used in this circuit (Fig. 1) is the 6BM8/ECL82. It is a power pentode and high mu triode in one envelope. The pentode element is used as  the pass element. It is triode wired to reduce its internal impedance, which in turn lowers the internal impedance of the regulator. This pentode has an amazing maximum plate supply rating  of 900 volts. Because of the high plate supply rating, silicon diodes can be used for rectification with minimal danger of cathode stripping. Also, since the 6BM8 is an indirectly heated tube, it will provide a slow turn-on characteristic.

The triode section of the 6BM8 is used as the error amplifier. A voltage divider is placed across the output of the regulator in order to sample the DC output voltage. This DC voltage is fed to the grid of the error amplifier.

Because the voltage divider decreases the output voltage to the proper range for input to the grid, it also proportionately reduces the amount of the regulator's residual ripple seen by the error amplifier. This is not good, so we bypass the voltage divider with a capacitor so that all of the ripple is seen by the error amplifier. The cathode of the error amplifier is held above ground with a zener diode. Of course, 50 years ago they used reference tubes like 0A2s to do this, but they take up lots of space and they don't provide as reliable a reference voltage as a zener diode does with only a few mA of current.

The value of the zener can be changed to vary the range of output voltages up or down. However, the maximum heater to cathode voltage is only 100 V, so the maximum output voltage should be limited to the zener voltage plus 200 V.

 

Zener diodes are noise generators and their internal impedance is far from zero. For these two very good reasons, the zener diode is bypassed with a combination of electrolytic and film capacitors. The plate resistor for the error amplifier is connected to B+ regulated instead of the more usual connection to B+ unregulated. Taking the error amplifier's plate current from the regulated output improves the regulation, while using only a minute portion of the available output current of the pass element.

When the maximum current is needed from this regulator, B+ unregulated must be at least 70 Volts higher than the regulated output. This condition is progressively relaxed as current requirements are lessened, i.e. the less current you need, the fewer volts have to be thrown away across the regulator.

 

If you decide that you don't like regulation after all, you can rewire this circuit as a nifty line stage with 12dB or more gain (Fig.2). This circuit will drive 600 ohm ‘phones admirably. We may offer stuffed circuit boards, tubes, and kits to those adventurous souls who want to explore the world of tube regulators. For more information, write me care of Clarus Recording Products, 1248 E. Hillsborough Av., Tampa, FL 33611.

 

These graphs (above) are spectral analyses of the noise and garbage seen at the output of the 6BM8 line stage described below with:

a) an unregulated pi-filter supply (80 mF + 50 ohm 10w wirewound + 100mF)
b) the 6BM8 regulator described above installed after the pi filter.

A 40+ dB drop in noise and line harmonics will make the background much quieter, thereby letting much more low level detail through.

 

Get the entire collection of Sound Practices now!
Enjoy the Music.com highly encourages our readers to buy the Sound Practices CD filled with all 16 issues in high quality format from publisher/editor Joe Roberts' eBay store by clicking here.

 

 

 

 

 

 

 

 

 

 

 

 

 

 

 

 

 

 

 

 

 

 

 

 

 

 

 

 

 

 

 

 

 

 

 

 

 

 

 

 

 

 

 

 

 

 

 

 

 

     

Premium Audio Review Magazine
High-End Audiophile Equipment Reviews

 

Equipment Review Archives
Turntables, Cartridges, Etc
Digital Source
Do It Yourself (DIY)
Preamplifiers
Amplifiers
Cables, Wires, Etc
Loudspeakers/ Monitors
Headphones, IEMs, Tweaks, Etc
Superior Audio Gear Reviews


Show Reports
Capital Audiofest 2025
Toronto Audiofest 2025
HIGH END Munich 2025
Lone Star Audio Fest 2025
AXPONA 2025 Show Report
Montreal Audiofest 2025 Show
Southwest Audio Fest 2025
Florida Intl. Audio Expo 2025
UK Audio Show 2024
Pacific Audio Fest 2024
...More Show Reports

 

Videos
Our Featured Videos


Industry & Music News

High-End Audio & Music News

 

Partner Print Magazines
audioXpress
hi-fi+ Magazine
Sound Practices
VALVE Magazine

 

For The Press & Industry
About Us
Press Releases
Official Site Graphics

 

   

 

Home  |  High-End Audio Reviews  |  Audiophile Show Reports  Hi-Fi / Music News  About Us  |  Contact Us

 

 

All contents copyright©  1995 - 2025  Enjoy the Music.com®
May not be copied or reproduced without permission.  All rights reserved.