October 2003
Arcam FMJ CD33T CD Player
Review By Alvin Gold
Click here to e-mail reviewer

Following what amounts almost to a famine of new compact disc players, there is suddenly a rash of new models, and they're arriving from a variety of sources. Still nothing to compare with the rate of introduction prior to the
popularization of DVD, but it hints at a resurgence of interest in compact disc after the usually disappointing CD reproduction of more universal players. One of the more significant introductions is from the Arcam stable. The CD33T is the latest and most ambitious of their range and the flagship of the senior FMJ series.
To understand where the FMJ CD33T is coming from, you need to know about its immediate predecessor, the FMJ CD23, and before that the Alpha 9, a player that was introduced about five years ago, which was before the entire Arcam product range received a cosmetic facelift and was reinvented as FMJ and DiVA range components. Beneath its rather dowdy exterior, the Alpha 9 was little short of a revolutionary product that was the first public outing for the
RingDAC, which was developed by specialist dCS (incidentally a near
neighbor of Arcam, based in Cambridge, England), partly with funding from Arcam.
Without going over old ground which in any case is no longer strictly relevant, the massively parallel RingDAC converter topology was an elegant way of delivering the linearity of Bitstream conversion with the inherent freedom from the ultrasonic idle patterns and time axis distortion of
multi-bit conversion. At a time when Bitstream still had much of the market in thrall, the RingDAC was audibly a revelation. Over succeeding product generations, it was combined with superior support circuitry, and compatibility with HDCD, whose star has since faded through neglect. The final iteration was in the elegant shape of CD23 from Arcam's FMJ (Full Metal Jacket) series, a subtle clue to the nature of the casework, but there were a number of other improvements included in this model, related to
earthing and the sophistication of the power supply.
As Arcam points out in the supporting literature, the dCS RingDAC remains one of the most sophisticated converters available, however technology waits for no man and - quote - 'we have found sonically more desirable technologies that enable better performing players'. It is this 'sonically more desirable technology' that is the driving force for the CD33T.
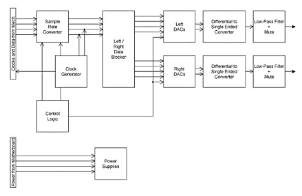
The core of the new player is a D/A converter from Scottish IC manufacturer Wolfson Microelectronics, a brand whose designs have a strong audiophile reputation. The flagship WM8740 is a delta sigma design which uses dynamic element matching to address errors in its 64 internal current sources. It can handle 24 bit word lengths and sample frequencies up to 192kHz, and it has a number of selectable internal digital filters. In the CD33T, four dual channel WM8740s are used in total, four D/A chains per channel in parallel differential mode, which cuts noise to a claimed -120dB (A Weighted), is well below the theoretical noise floor for CD Audio. Linearity and distortion are comparably low. A side benefit of the Wolfson DACs in these configurations is that the ICs themselves have their own digital filters on board. Feed each D/A chip only a left or right signal, and there is no possibility of
inter-channel crosstalk and distortion of the kind that is common with single chip decoders.

Arcam block diagram of the Upsampling MultiDAC module.
One benefit of the Wolfson D/A is that it supports upsampling, which is performed by an Analogue Devices AD1896, which converts from 16-bit/44.1kHz to 24-bit/192kHz. Of course it is not possible to add resolution to a 16-bit signal by upsampling -- now that really would be pulling a rabbit from an empty hat -- but it does allow Arcam to specify gentle acting digital filters operating at frequencies well outside the audio band. Pre and post echoes on transients are
minimized, and group delay is reduced, enhancing imaging.
Sophisticated DAC design is far from being the end of the CD33T story. Jitter reduction is high up on the list of priorities, and the low jitter master clocks are individually buffered and terminated. Analogue Devices AC797 opamps sum the differential outputs of the DACs on each channel and drive the
4th order Bessel output filter. The circuit is built on a 4 layer PCB with a separate ground and power planes. Individually regulated power supplies are provided for each major circuit block, driven by a large capacity frame transformer -- later designed (but in other respects less sophisticated) Arcam players have switched to
toroidal transformers. Capacitors are from WIMA, Oscon, Elna Starget and Silmic. The direct coupled, servo controlled output is relay switched and the output is generated by Burr Brown OPA2134s. The relays are out of circuit when the signal is connected.
The Arcam doesn't provide balanced mode outputs, despite an internal architecture that is so inherently well adapted for this topology, and which would have increased the 'reach' of the player for those with balanced mode amplifiers. The reason however is obvious enough. Arcam has never included balanced mode operation on their amplifiers, and to include them here would have been inconsistent with their pattern of building complete system solutions. But it remains a pity….
Like all Arcam products, the CD33T doesn't wear its technological heart on its sleeve. You might say it has an almost British reserve. From the outside it is smooth, sleek but slightly low key. The
aluminum-extruded fascia for example is machined from 8mm stock that is bead blasted and baked, which gives it a very fine appearance. The FMJ model also sports a
'Trilaminate' chassis, a three layer composite made from two layers of steel damped by a
rubberized polymer core which was originally developed for use in Lexus cars. The cover is non-magnetic
aluminum rather than steel, but it is a pressed component rather than machined, so there is no cosmetic advantage. The green fluorescent display is nothing special either, though it includes a CD Text display, and can be dimmed or switched off, but the loading drawer that feeds the CD-R/RW compatible Sony drive mechanism is smooth and quiet.
The user interface story is much less exciting than the internal nuts and bolts. Like all
Arcams, the front panel controls are sufficient for most everyday tasks. The remote control, which can control a DVD or a CD player, and which includes a volume control, is a fully furnished design with small domed buttons, and although the layout is logical enough, the design is neither attractive nor especially clear. To an extent it undermines the quality feel of the player itself. An appropriately
customized version of the much better handset supplied with Arcam's AV8 processor would be a good move.
Rear panel socketry is standard fare, but there are no omissions, unless you count the absence of a headphone socket (which of course would have been a
front panel feature). Optical and coaxial digital outputs (but Arcam may have missed a trick by not allowing them to be switched off when not required) are fitted, and there are two pairs of parallel-connected outputs. In addition, Arcam has fitted a remote input for an IR receiver, and the mains input is a pluggable IEC socket, which opens the possibility of upgrading. Indeed this was done for this test and with good results, by swapping the supplied lead for Nordost El Dorado (about to be superseded by the way. A slightly unfortunate side effect of using
Nordost, which does indeed improve sound quality very significantly, is an enormous price hike, but there are cheaper replacement mains cables around.
Sound Quality
Here is one of those players that sounds good from the box, and which just gets better. It doesn't appear to
favor any particular music genre or any specific frequency band, and its stature grows as the system that is erected around it improves.
Starting at the ground floor, the CD33T is tonally neutral. This isn't quite a given with CD players, which rarely deviate much from the straight and narrow when measured with instruments, but which all too often sound as though they do. This one has a well-extended bass, but it is a seamless extension and perfectly in proportion to the
midband. No big deal, any good CD player should be describable in these terms, and many indeed can be.
Where the Arcam begins to depart from many of its rivals is in the treble. The upsampling, and consequent gentle and wide bandwidth digital filtering, means that the phase response of the output is very linear. Perhaps this is the reason there is less of the rather emphatic, almost underlined quality that is a frequent reminder of what listening to compact disc can mean. It is in this sense that the Arcam seems more tonally neutral than usual. It is often said that compact disc is somehow bright or edgy, but this probably shorthand for the audible effect of the group delay caused by rapidly acting anti aliasing filers required in traditional digital replay chains. Upsampling is a technique that is in many respects similar to (and in some cases indistinguishable from) oversampling. Oversampling has been employed in one form or another since CD was first introduced, and which all too often provides no audible benefits over conventional oversampling. Even with some quite costly players, upsampling can detract from sound quality, and I was involved in listening to one very highly specified prototype player whose upsampling was removed prior to release for exactly this reason. But Arcam's upsampler is clearly in a different league. This much is obvious even without a switch to turn it off.
But tonal response, perceived or actual, is only one element of the performance of a CD player, and rarely a dominating one at that. First impressions of the CD33T are that it is refined and detailed. Stereo imagery is particularly well developed, with strong interchannel separation, and firm location of central images, and a palpable sense of depth, though speakers permitting it was more often developed in front of the plane of the speakers than behind.
The player has an unusual liveliness and transparency, and in this it goes beyond the capabilities of its predecessor, the CD23, The latter had broadly similar qualities, but there was a mild but detectable something -- call it opacity, an identifiable patterning that was present at a very low level with all
program material. In the end, the CD23T could sound a little bland. This is where the new model shows the clearest evidence of improvement over the old. Refinement is of a broadly similar order, and there appears to be even more detail than before, but the more important significant point is that the CD33T has almost no aural signature or opacity. It is more transparent, and there is less of a sense that the music has a mechanical origin.
The Arcam was judged against some real talent. A Mark Levinson 390S CD player was available for most of the test period, and speakers available included the Triangle Magellan, B&W Nautilus 800 and Sonus Faber
Cremona, with amplification from Classé and Krell with Nordost Valhalla interconnects and speaker cables. Each of these systems is in some sense defined by its resolving power, and in each case the Arcam made a worthy partner. It's not up to Mark Levinson 390S standards, but given the price differential, this is hardly a surprise.
Any number of musical examples can be adduced to illustrate the qualities of the CD33T. The sparse and atmospheric first Cowboy Junkies album
The Trinity Session sounded wonderfully free and open, while Walking in Memphis from Marc Cohn's eponymous album showed the Arcam to have real muscle and lithe, propulsive timing. I was surprised how fresh some older albums scrubbed up.
"Calling Elvis" from Dire Straits On Every Street sounded sharp as a pin, but immaculately controlled, coincidentally showing another side of the Arcam's talents as it was one of the few players I have used of late able to negotiate my badly pockmarked copy of this disc
The CD33T's ability to resolve information down to a very low level was demonstrated in the Valery
Gergiev/Kirov Orchestra's Stravinsky
Rite of Spring, which is always an impressive recording and performance, but which acquired an extra level of grip apparently due to a combination of timing and resolving ability. The orchestra has a strong sense of texture, and the slightly heavy tonality apparent through some players sounded
colorful and varied.
Conclusion
Arcam's place in the firmament is enhanced by this well considered and painstakingly specified design. It is well engineered, extremely well endowed internally, and has the life and vitality, and a freedom from common digital audio artefacts that places it as first among equals at the price. It is also in my view a clear improvement on Arcam's previous best, which was the RingDAC equipped CD23. The only significant criticisms are cosmetic, and have no impact on performance. While it remains virtually impossible to match the CD performance of a good dedicated CD player from the range of DVD or universal players currently on offer, and right now, this continues to be the case, the CD33T is a particularly attractive choice.